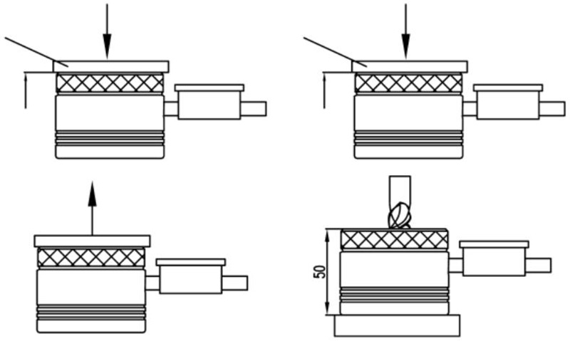
使用说明
1.如图所示,使用附带的量规销压下弹簧加载的中间件。请确保将量规销放在发亮的表面上。
2.将指示器旋转至读数为“0”,然后卸下量规针。
3.将单元放到工件上,然后小心地向下移动工具以使其与量规面接触。当量规读数为“0”时,工具位于工件上方2”。
| 型号 | 类型 | 主要高度 | ||||||||
| HIP50-B | 触摸灯如图所示ZOP-50 | 50mm | ||||||||
| HVP50-B | 触摸灯如图所示ZOP-50 | 50mm | ||||||||
使用说明
1.如图所示,使用附带的量规销压下弹簧加载的中间件。请确保将量规销放在发亮的表面上。
2.将指示器旋转至读数为“0”,然后卸下量规针。
3.将单元放到工件上,然后小心地向下移动工具以使其与量规面接触。当量规读数为“0”时,工具位于工件上方2”。
| 型号 | 类型 | 主要高度 | ||||||||
| HIP50-B | 触摸灯如图所示ZOP-50 | 50mm | ||||||||
| HVP50-B | 触摸灯如图所示ZOP-50 | 50mm | ||||||||
